Сборка вибратора своими руками из дрели
Если вам необходим глубинный вибратор, то его можно собрать просто из электрической дрели.
Прежде чем изготавливать самодельный вибратор для бетона, необходимо понять, на чем основан принцип действия приспособления
Обыкновенную дрель можно найти практически в каждом доме. Основной движущей силой такого устройства будет превращение вращательного движения в колебательное.
Главной движущей силой устройства будет самая обыкновенная дрель
Выбор материала для сборки вибратора
Для сборки такого устройства из дрели подойдёт любой инструмент мощностью 1 кВт и более. Понадобится насадка с эксцентриком и прочный наконечник из нержавейки. Кроме этого, в наличии должны быть:
- трубка из нержавейки длиной 55 см и Ø 4 см;
- металлический стержень Ø 15 мм;
- отрезок металлического стержня прямоугольной формы;
- два качественных подшипника и втулка;
- гнущийся армированный шланг с гидроизоляцией или резиновая прочная трубка;
- внутренний стержень для трубки (можно взять тросик спидометра).
Масса эксцентрика создает силу, которая заставляет насадку колебаться с определенной частотой
Инструменты для сборки
Для сборки вибратора надо иметь набор таких инструментов:
- набор свёрл по металлу;
- электро или газосварка;
- ножовка;
- стержень прямоугольного сечения.
Этапы изготовления глубинного вибратора
Сборка конструкции проводится в следующем порядке:
- Подбираем нержавеющую трубку из стали длиной около 40–60 см и Ø 3–4 см. Для устройства внутреннего стержня надо взять металлический прут Ø 12–15 мм. Он будет сдвигать всю систему механизма в определённую сторону и обеспечивать вибрационные колебания. Так как бетон является очень агрессивной средой, то нержавеющая сталь — это единственный подходящий металл для изготовления вибратора.
Для изготовления внутренней оси используется металлический стержень
Подшипники позволят центральной детали свободно вращаться
Подшипники должны устанавливаться только высокого качества
Качество защиты влияет на долговечность работы вибратора
Чтобы облегчить работу, можно воспользоваться тросиком от спидометра автомобиля
Шланг должен быть плотно защищён хомутом
Электрическая дрель — оптимальный инструмент, если нужно сделать погружной бетонный вибратор
Устройство дренажа в цветочных горшках
Высевки земли, за исключением крупных камней и щепок, не следует выбрасывать: из них устраивается отличный дренаж в цветочных горшках, для посадки растений. Обыкновенно нижние слои земли в горшке под влиянием постоянной поливки быстро уплотняются, почти не пропускают воду, и растения страдают от непросыхания кома. Совершенно иное получается при рациональном устройстве дренажа: водосточное отверстие несколько расширяется и закладывается черепком; на черепок насыпается слой высевок, толщина которого зависит от диаметра горшка, т.е. чем крупнее горшок, тем толще слой высевок. На эти высевки уже насыпается земля и сажается растение.
Вода при поливке, пропитав верхние слои, стремится вниз и, конечно, быстро стекает через слой высевок. С течением времени частицы земли уносятся вместе с водой и заполняют промежутки между высевками, и вода несколько задерживается, но это случается не ранее того времени, как явится необходимость в новой пересадке, и, следовательно, дело снова может быть поправлено тем же способом.
Впереди лето, а вместе с ним наступает пора строек. Очень часто при строительстве возникает необходимость в просеивании песка. Хочу представить вам способ изготовления наиболее компактного, удобного и дешевого инструмента для просеивания речного песка.
Для её изготовления из материалов нам понадобится: — два деревянных бруска: 40х40х3000 мм и 20х40х3000 мм, — сетка тканая с диаметром отверстий 2х2 мм, а также гвозди длиной 100 мм и 40 мм. Из инструментов необходимы
ножовка, молоток, рулетка и карандаш. Сетку тканую лучше изначально купить в магазине нужного вам размера, чтобы не было необходимости её резать дома, в данном случае нам понадобится с размерами 60х68 см. Выглядит она так (для наглядности согнута). Для начала отрезаем с помощью ножовки брусок 40х40х3000 мм на четыре части: две длиной 60 см и две — 90 см (при этом будет всего три среза и брусок полностью используется без остатков). Также отрезаем от бруска 20х40 четыре части длиной по 60 см. Теперь необходимо скрепить бруски 40х40 длиной 60 см и 90 см с помощью гвоздя 100 мм. При этом необходимо отойти от края бруска (90 см) на 15 см. Бруски стоят перпендикулярно друг другу. Аналогично три другие стороны. В итоге получаем такую конструкцию: Теперь необходимо закрепить сетку, для этого прибиваем гвоздями 40 мм брусок 20х40х600 мм к полученной выше конструкции. Аналогично оставшиеся стороны. В итоге получаем компактную, надежную, недорогую и удобную сетку для просеивания песка с ручками с обеих сторон.
Применение сетки для просеивания песка или щебня в больших объемах позволяет получить строительный материал необходимой фракции. Это возможно за счет использования низкочастотных дисбалансов и высокой амплитуды вибрации. Виброгрохот ВГ-1 имеет высокую производительность, он применяется не только для того, чтобы просеять песок или щебень, но и выполнить их сортировку.
Грохот ВГ-1 позволяет получить 3 фракции строительного песка. При этом подача и выход материала являются достаточно удобными. Типовая модель отличается следующими основными преимуществами:
- продуманность конструкции;
- легкость установки и смены сеток;
- повышенная эффективность применения;
- удобные размеры;
- легкость в уходе за приспособлением.
Устройство оснащено вибровозбудителем инерционного дебалансного типа, а не вибраторами, что повышает технические характеристики этого оборудования:
- Количество фракций – 1-3.
- Мощность – 0,5-11 кВт.
- Производительность – до 20 т/ч (песок).
- Размер ячеек сетки – 0,2-20 мм.
- Площадь деки – 1-7 м².
Вибрационный грохот ВГ-1 полностью соответствует требованиям ГОСТ. Устройство обладает следующими основными преимуществами при мокрой сортировке:
- возможность непрерывной модернизации конструкции;
- оптимизированная кинематика движения корпуса;
- сниженные затраты на потребление электроэнергии;
- расчет размеров сит с учетом запаса производительности;
- мокрая сортировка металлическими и ПУР ситами;
- возможность увлажнения поверхности сит форсунками;
- визуализированный и автоматизированный процесс сортировки материала;
- оптимальный подбор сит для разделения до 99% фракции материала, подлежащего рассеву.
Грохот позволяет сортировать самые сложные материалы с наличием большого объема ила и глины. Это обеспечивается за счет надежности просеивающего сита.
Основные области применения вибросит
Просеивающие вибрационные сита наиболее востребованы в следующих отраслях.
Строительстве и производстве стройматериалов: для очистки и сепарации песка, гравия и других сыпучих компонентов. От точности этих работ зависит качество и прочность бетона, напольных покрытий и пр. В строительстве обычно используются высокопроизводительные вибросита.
Фармакологии
Здесь очень важно, как получение частиц точно заданных микроскопических размеров, так и высокая степень герметичности и гигиеничности. Поэтому к оборудованию выдвигаются повышенные технические требования.
Пищевой промышленности
К продуктам питания предъявляются сходные с лекарственными препаратами требования по соблюдению безопасности. Поэтому на кондитерских фабриках нередко применяются высококачественные круглые вибросита закрытого типа.
Химических комбинатах. Здесь степень очистки тоже имеет решающее значение.
Резинотехнической и лакокрасочной промышленности. Вибросита используются при сортировке резиновой крошки, гранул, порошковых красителей.
Металлургия. От сортировки и точной калибровки ингредиентов для выплавки металлических сплавов зависят характеристики конечной продукции.
Сельское хозяйство. Вибросита могут использоваться для сортировки круп, зерен, других культур и продуктов.
Машиностроение. Очистка, фильтрация и калибровка сыпучих материалов применяется и при производстве машин и механизмов — от покраски недорогих скутеров до ракетостроения.
Краткие выводы
Приобретение вибросита обеспечит высокую производительность, резко повысит эффективность производственных процессов и рентабельность бизнеса в целом.
Современные модели вибросепараторов осуществляют максимально точное разделение сыпучих компонентов на несколько фракций, просеивание, калибровку и обезвоживание, поддерживают герметичность и гигиеничность. Благодаря широкому функционалу вибросита ведущих производителей успешно применяются во многих отраслях экономики, обеспечивая высокое качество продукции.
Как купить качественное вибросито
Мы предлагаем профессиональное промышленное оборудование для транспортировки, хранения, сортировки сыпучих материалов. Среди нашей продукции особое место занимают высококачественные вибросита и сепараторы от ведущего производителя отрасли — компании Galaxy Sivtek.
Сделайте заявку прямо сейчас! Оставьте свои координаты на сайте или позвоните на номер, указанный в шапке сайта (есть Viber, WhatsApp, Telegram).
Не откладывайте звонок. Наши специалисты проконсультируют вас по всем вопросам и помогут подобрать оптимальное оборудование. При необходимости мы разработаем индивидуальный проект.
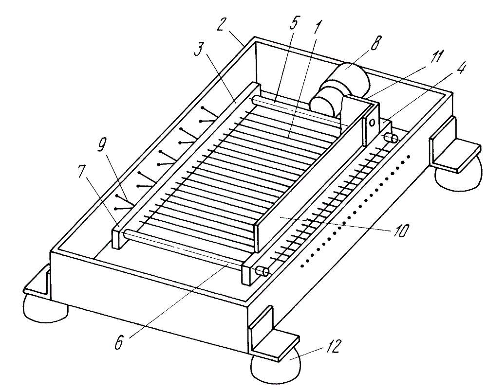
Особенности конструкции
Разобравшись с конструкцией вибросита, вам будет намного проще понять принцип сборки подобного устройства.
Конструктивно агрегат включает в себя несколько основных элементов.
- Рама. Это опорная конструкция, основание для всех остальных компонентов. На раме фиксируют все детали и узлы.
- Электропривод. В качестве привода используется электрический двигатель. Для самодельных конструкций обычно берут электропилы, лобзики, дрели, иногда даже шуруповёрты или перфораторы.
- Внешний ящик. Особенность в том, что днище отсутствует. Собираясь своими руками, для фиксации ящика можно использовать мебельные ролики.
- Рельсы. Выполняются из металла. По ним перемещаются ролики, смещая тем самым ящик.
- Встраиваемый ящик. Вставляется в раму. На дне располагается металлическая сетка.
- Жёлоб. Способствует перемещению уже переработанного сырья в отсек для сбора.
- Регулятор скорости. Позволяет выбирать оптимальную скорость вращения двигателя, тем самым контролировать интенсивность просеивания.

1 — просеивающая поверхность; 2 — рама; 3 и 4 — отверстия пластин; 5 и 6 — винты с пластинами; 7 — груз; 8 — электромагнитный вибропривод; 9 — двойные тяги; 10 — перегородки; 11 — экран; 12 — армотизаторы.
Для изготовления жёлоба обычно используют листы фанеры, либо металла. Металл предпочтительнее, поскольку имеет более продолжительный срок службы.
Отдельный регулятор скорости устанавливать не требуется, если на самом приборе с электродвигателем такая функция уже имеется.
Обычно вибросито используется для очистки песка, щебня, раствора от мелких или слишком крупных фракций.

Учитывая конструктивные особенности и назначение агрегата, уловить суть работы прибора довольно просто. Принцип функционирования следующий:
- в ящик засыпается состав для просеивания;
- включается в работу электродвигатель;
- за счёт вибраций сито начинает смещаться вперёд-назад с высокой скоростью, но с малой амплитудой;
- за счёт сита с определёнными размерами ячеек, фракции нужных габаритов отсеиваются через жёлоб и попадают в сборочный бункер;
- остаточные компоненты остаются в сите.
Когда очистка раствора или сухой смеси будет завершена, следует приподнять верхнюю раму, которой оснащено вибросито, и удалить оттуда оставшиеся материалы. Затем можно засыпать новую порцию и повторять процедуру.

Как из бетономешалки сделать дешевый просеиватель для песка и щебня
сhichicПользователь FORUMHOUSE
Места у меня на участке мало, поэтому, при завозе песка и щебня их свалили в одну кучу. За несколько лет они перемешались. Просеивать этот объём вручную не хотелось. Поэтому я сделал из бетономешалки просеиватель.
Расскажем, как изготовить это нужное в хозяйстве приспособление:
- Берёте две полоски оцинкованного металла шириной 100 и 200 мм.
- Полосу шириной 100 мм сгибаете и стягиваете болтами вокруг горловины бетономешалки.
- Полосу шириной 200 мм сгибаете в кольцо, а концы фиксируете заклёпками.
- Сетку с ячеей 6 мм обрезаете по диаметру кольца с нахлёстом. Концы загибаете и закрепляете заклёпками к кольцу через металлическую ленту.
Получилось большое сито. Для удобства работы к ситу привинчиваете ручки.
Сито вставляете в бетономешалку сеткой вниз.
Включаете бетономешалку и просеиваете сыпучие материалы. Затем останавливаете бетоносмеситель и только потом вынимаете сито!
В «груше» остаётся просеянный песок и каменная пыль.
Готовая продукция.
сhichicПользователь FORUMHOUSE
Самоделка мне понравилась. Планирую прикупить сетку с ячеей 4 мм и 8 мм и сделать еще два сита для разных работ.
Пользователь рекомендует:
Не просеивайте сыпучку до полной загрузки бетономешалки. Достаточно просеять 8 совковых лопат и сразу высыпать содержимое бетономешалки в мешок. Если заполнить песком всю «грушу» он спрессуется на дне в плотную массу. Её неудобно фасовать в мешки.
Если во время работы нужно остановить бетономешалку заполненную бетоном и потом вновь включить её, то поверните «грушу» так, чтобы её зев был направлен вверх. Только потом запустите бетономешалку и поверните «грушу» под нужным углом, для нормального перемешивания смеси. Так вы уменьшите нагрузку на двигатель и привод, и они прослужат дольше.
Ещё одна конструкция просеивателя для сыпучих строительных материалов от Витэк.
Как сделать сито своими руками
Самый доступный материал для того чтобы сделать своими руками сито или ситечко, это пластиковые ведра в которых продают майонез, марля или для комаров. Ёмкости из под майонеза имеют замечательную форму, которая позволяет вставлять пустую тару одну в другую. Это свойство формы и будем использовать в самоделке.
Чтобы сделать сито своими руками для просеивания муки или чего-нибудь другого, нужны два пластиковых ведра.
У одного обрезаем только дно.
У второго и дно и верхний ободок.
Оставляем для сита своими руками среднюю часть.
На фото ниже показал не используемые вырезы из пластиковых ведер.
И общая, объясняющая фотография, что нужно сделать своими руками.
Размеры ячеек применяемой сетки должны быть разные в зависимости от просеиваемых веществ. Например, для просеивания муки очень мелкие.
Вот какая у меня
Собираем сито своими руками из приготовленных заготовок как показано на фотографиях.
И вот сито своими руками сделано. Сетка хорошо натягивается и зажимается между заготовками.
Крышку оставил специально, просеивать муку с ней удобней.
Как изготовил сито своими руками, сразу же испытал просеивая муку для рецепта необычных оладьев . Самоделка получилась очень удобной, сито глубокое и разборное.
Сито своими руками для кваса и жидкостей
Развивая тему, вспомнил как мучился, процеживая хлебный квас .
Здесь, чтобы сливать квас из банки нужно большое сито, поэтому предлагаю вариант из пластиковой 5-и литровой бутылки. Это быстрое, разборное сито, объединённое с тарой. При изготовлении снова используем те же свойство форм.
Берём, бутылку и вырезаем ободок только по первому сектору.
Как разметить сектора? Очень просто! Кольцо вырезанное по первому сектору должно плотно входить в нижнюю часть бутылки.
Сверху, на получившуюся ёмкость, положить марлю и зажать её вырезанным ободком.
Теперь можно спокойно процедить квас через сито и оставить на нём отфильтрованное для полного стекания жидкости.
Ещё, как пример, быстрое ситечко для жидкости из стакана, бинта и пластиковой бутылки.
Надеюсь, понятно без объяснений. Снова у нас получилось сито своими руками.
Таким же способом можно сделать воронку с сеткой своими руками.
Воронку с сеткой можно сделать разборной, тогда будет возможность менять марлю и сетку. Или не разборной, сверху, по кругу, проходим степлером.
Ну вот, надеюсь, этих вариантов, как сделать сито своими руками хватит для того, чтобы охватить решения большинства задач дома по просеиванию, отсеиванию и фильтрации.
Сито для хозяйственных и строительных нужд, можно легко сделать своими руками. В качестве примера, сито для сада, через которое удобно просеивать компост. И не только компост, оно пригодится для просеивания земли или песка.
Размеры деталей зависят от того, как вы планируете использовать сетку. Для просеивания большого объема песка или почвы, лучше сделать рамку больше, например 700/1200 мм. . Этот вариант более легкий и портативный.
Для изготовления деревянной рамки, подойдут бруски сечением 50/50 мм. . Порода дерева не так важна, хотя я бы выбрал березу или бук.
Ещё понадобится металлическая сетка с ячейкой 6-12 мм. , саморезы, гвозди или скобы.
Рамка на фото размером 550/550 мм. , для ручного просеивания вполне подойдет. Торцы брусков запиливаем под углом 45*, длина деталей по внешним углам соответственно будет 550 мм. .
Собираем бруски в виде рамки для картины и стягиваем саморезами снаружи. Только обязательно заранее просверлите отверстия, хотя бы на половину длины самореза, чтобы торцы деталей не лопнули при стягивании. Чтобы рамка была прочнее, лучше вкрутить по два самореза с каждой стороны угла, то есть по четыре на каждый угол. Всего понадобится 16 саморезов длиной 75-85 мм. .
Готовую рамку накладываем на металлическую сетку, размечаем и обрезаем. Обрезать можно кусачками, но это дольше. Быстрее и проще использовать болгарку. Сетка не должна выходить за габариты рамки, лучше сделать немного меньше.
Накладываем сетку на нижнюю сторону сита и прибиваем гвоздями или скобами. Чтобы сетка не провисала, лучше забивать скобы с интервалом не меньше 50 мм. . Для дачи делаем своими руками .
Картинки с сайта www.instructables.com Просеиваем почву или компост, чтобы очистить грунт от камней и корней растений.
(Visited 2 035 times, 1 visits today)
Для того, чтобы механизировать этот процесс и облегчить работу, можно изготовить механическое устройство с электроприводом. Подобный механизм будет особенно актуален в случае необходимости приготовления большого количества строительных смесей из сыпучих материалов.
Такое устройство называют виброситом или виброгрохотом. Оно имеет достаточно простую конструкцию, а потому вибросито своими руками сделать совсем несложно.
Размеры конструкции
Сборку лучше всего осуществлять на основе готовых чертежей для сборки вибросита, чтобы строго следовать указанным размерам и не допустить ошибок при монтаже и подборе материалов.
Если устанавливать всё на глаз, можно столкнуться с серьёзными погрешностями. Поэтому работу начинать следует с изготовления сборочного чертежа или подборной схемы. Это позволит поэтапно собирать каждый компонент максимально точно, соблюдая порядок выполнения всех процессов.
Что же касается размеров, то наиболее универсальным считается основание с такими габаритами:
- длина — 1400 мм;
- высота 850 мм;
- ширина 600 мм.
При этом длину внешнего ящика, у которого дна нет, берут из расчёта половины длины несущей рамы. Ширина должна быть на 100 мм меньше ширины рамы, а глубина минимум 120 мм.

Внутренний ящик, оснащённый сетчатым дном, должен обеспечивать возможность простого и быстрого извлечения из рамы для опрокидывания и удаления лишнего отсева.
Для соединения внутреннего и внешнего ящика нужно по короткой стороне установить рояльные петли. Так вы без проблем сможете поднимать и опрокидывать внутренний элемент.
Правила выбора
Для охоты на гуся подойдут универсальные скрадки. Однако перед походом в магазин желательно ознакомиться с советами опытных охотников.
Общие рекомендации:
- Эксплуатационный срок. Зависит от каркаса. Желательно приобретать основу из полужестких или жестких стержней. Зимой предпочтительней выбирать изделие с прочными осями.
- Материал, из которого изготовлен каркас. Предпочтительней алюминиевый. В таком скрадке достаточно места для маневренности. Помимо этого снижается уровень шума. Единственный минус подобных конструкций — неудобная транспортировка в силу большого размера. Они не подходят для транспортировки на спине.
- Вес изделия. В труднодоступных местах желательно использовать легкие приспособления, поскольку громоздкие засидки проблематично использовать.
- Материал покрытия. Лучшим для пола считается непромокаемая ткань — 1800 D, для остальной конструкции — 900 D.

Лежачий скрадок с несколькими створками для обзора
- Количество створок. Оптимальным считается наличие 2 окошек. Они дают хороший обзор. К тому же позволяют заманить добычу через сетчатую ткань. Если створки не закрывать, появится дополнительное пространство для локтей. .
- Петли. Приветствуется, если с тыльной стороны приспособления предусмотрены петельки. В целях маскировки в них можно вплетать траву.
- Дополнительные комплектующие. Боковые клапаны-молнии, плечной ремень, внутренние карманы, рюкзачные лямки и прочие элементы способствуют более комфортному нахождению в засаде и удобной транспортировке изделия.
- Внутреннее кресло. В некоторых моделях стоячих скрадков предусмотрено регулируемое под рост охотника сиденье. Оно делается из толстого пенополиэтилена. Снабжено мягкой спинкой, защищающей спину от холода, и удобным подголовником.
- Бортик. При его наличии приспособление можно устанавливать в лужах.
Качественные скрадки просты в установке, защищают от дождя и дают возможность всестороннего обзора.

При покупке скрадков следует учитывать особенности ландшафта
Вращающиеся установки для просеивания песка, серия СП
Шероховатость была получена путем приклейки песчинок определенного размера, полученного просеиванием песка через специальные сита.
Пыль и частицы глины из песка должны быть заранее удалены путем просеивания песка на специальных ситах. Находящийся в употреблении песок по мере его загрязнения следует полностью заменять или освежать путем добавления свежего песка в количестве от 5 до 15 % в зависимости от давления воздуха, которое обычно поддерживается в пределах от 3 5 до 5 ат.
При изготовлении раствора непосредственно на площадке необходимо механизировать процессы гашения извести и просеивания песка.
Процесс начинается с подготовки в составных цехах шихты, сушки, измельчения, просеивания песка, доломита, мела, соды, сульфата натрия, пегматита и других компонентов. Шихту загружают в печи для варки, полученную массу стекла вытягивают, прокатывают, готовую продукцию полируют, сортируют и упаковывают.
На неавтоматизированной пескосушильной установке ( барабанного или другого типа) необходимо механизировать процессы загрузки, сушки и просеивания песка. Просеивать песок следует в изолированной камере с отсосом пыли. Бункер или воронку для приема сырого песка оборудуют защитными решетками, снимать которые во время работы дискового питателя не разрешается.
При приготовлении раствора на месте строительства добавляются операции по механизированному гашению извести ( табл. 321), и просеиванию песка.
Зерновой, или гранулометрический, состав песка характеризуется содержанием в нем зерен различной крупности и определяется просеиванием средней пробы через сита. Набор стандартных сит для просеивания песка включает сита с отверстиями 10; 5; 1 25; 0 63; 0 315 и 0 14 мм.
Шероховатость были получена путем приклейки песчинок определенного размера, полученного просеиванием песка через специальные сита. Тел самым была получена равномерно распределенная зернистая шероховатость.
Подготовка свежего песка заключается в просеивании его через сито. В литейных мастерских с эпизодическим производством незначительного количества литья, формуемого в землю ( например, в небольших литейных мастерских для цветного литья), для просеивания песка применяются неподвижные плоские плетеные сита с ячейками размером 5 — 6 мм. Просеивание ведется забрасыванием песка вручную на сито, устанавливаемое наклонно к горизонту. Неподвижные сита малопроизводительны, и поэтому при регулярном потреблении песка даже в небольших количествах применяются механизированные сита.
Получение строительного полированного и армированного стекла, стеклоблоков, стеклопрофилита, а также облицовочной плитки имеет принципиально одну и ту же технологию, состоящую из следующих этапов: 1) подготовка шихты путем сушки, измельчения, просеивания песка, доломита, мела, соды, сульфата натрия, пергамента и других компонентов; 2) варка шихты в печах; 3) вытягивание, прокатывание полученной массы стекла для получения того или иного изделия; 4) полировка, сортировка и упаковка готовой продукции.
Для кладочного раствора нужен песок с гранулами 5 мм, для штукатурного раствора ( грунта) — не крупнее 2 5 мм. Мелкий песок ( зерна не крупнее 1 25 мм) нужен для накрывочного слоя штукатурки, прежде всего для оштукатуривания внутренних поверхностей и потолка. Поэтому нужно иметь для просеивания песка сита с ячейками не крупнее указанных размеров.
Страницы: 1 2 3
Просушивание
Просушка песка необходима, например, при изготовлении сухих смесей. Методика просушивания зависит от влажности изначального материала, его объема, необходимой производительности и доступных средств. Например, когда объем влажного песка небольшой, а день – жаркий, его сушат, рассыпав тонким слоем на плоское основание. Хороший вариант – листовое железо или профнастил. Таким образом, способы сушки условно можно поделить на категории:
- Бытовой – на противне в духовке или на солнце.
- Строительный – на листе железа под солнцем или над печкой (костром) либо в специальной трубе («виброкипящий слой»).
- Промышленный – как правило, в «виброкипящем» или «псевдосжиженном» слое, а также с применением извести.
Пока барабан крутится, сдвигая массу к концу, продукты горения газа сушат песок.
Популярный способ подготовки материала для растворов (особенно на заводах сухих строительных смесей) – использование «барабанного грохота виброкипящего слоя». Это модификация барабанной сеялки, в которой сетка расположена только в конце трубы. В ее начале же устанавливается газовая «пушка» с мощным вентилятором. Про коэффициент фракции песка по ГОСТу 25584-2016 расскажет эта статья.
Как сделать экстендер для увеличения члена своими руками
Первый вариант: скульптурный пластилин. С его помощью можно вылепить пенис любой толщины и высоты. Главное – оставить место под моторчик. Дальше следуйте инструкции на упаковке материала и запеките агрегат. После прикрепляйте оставшиеся детали и пользуйтесь устройством. Такой вариант легко заменит покупной вибратор.
При изготовлении собственного аналога необходимо опираться на конструкции фабричных экстендеров
На данный момент существует целый ряд способов изготовления экстендера своими руками, но при этом следует помнить главное правило: всегда нужно брать за основу заводскую конструкцию. Фабричные экстендеры прошли тщательные исследования и при правильном применении не способны навредить организму человека. Поэтому именно на их конструкции следует опираться при изготовлении собственного аналога.
В домашних условиях можно сделать любой из описанных приборов. Процесс изготовления более подробно описан ниже.
Эти конструкции можно объединить в одну группу, поскольку они практически ничем не отличаются друг от друга. Разница в данном случае лишь в материале фиксатора. Изготавливают такие приборы из подручных средств, и они значительно отличаются от заводских. Основными элементами конструкции механического экстендера являются:
- фиксатор головки;
- упорное кольцо, прилегающее к лобковой зоне;
- распорный механизм.
Это очень важно, ведь в противном случае возможно возникновение травмы.Для упорного кольца следует подобрать пластик или кусок плотного картона. Данная конструкция должна иметь больший диаметр, нежели половой орган
Для экстендера необходимо выбирать гипоаллергенные материалы, поскольку он будет контактировать с кожей в течение длительного времени. Сборка прибора осуществляется в соответствии с внешним видом его фабричной версии: с одной стороны устанавливают упорное кольцо, а с другой – фиксационную петлю. Между ними размещают подвижные штанги распорного механизма.
Если в ходе носки возник зуд или дискомфорт, следует перестать использовать самодельный прибор и немедленно обратиться к врачу.
Изготовить своими руками такой прибор будет несколько сложнее. Его отличием от механического аналога является наличие вакуумной камеры, посредством которой и осуществляется удержание головки пениса. При условии правильного изготовления и использования такой прибор будет отличаться комфортом в носке, гарантируя при этом высокие результаты увеличения члена. Для его изготовления потребуется следующее:
- оси с регулируемой длиной, какие использовались при создании механического аппарата;
- упорное кольцо;
- пластинка для поддержания камеры;
- вакуумная камера, посредством которой головка пениса будет надежно фиксироваться в приборе;
- груша, с помощью которой будет создаваться вакуум (можно использовать деталь от тонометра).
Процесс сборки конструкции предполагает следующие этапы:
- Вакуумная камера является самым сложным элементом данной конструкции. Проще всего будет изготовить ее из пластиковой емкости, имеющей отверстие для выхода воздуха, латексных перчаток и шлюзного кольца.
- Регулирующие оси соединятся с упорным кольцом и вакуумной камерой, которые устанавливают на концах изделия.
- Еще один важный компонент системы – трубочка, оснащенная механизмом перекрытия воздуха. Именно посредством нее вакуум будет сохраняться в камере. Для этого можно использовать колесико, предназначенное для спуска воздуха в тонометре.
























